610-497-2600

MODELS 6252/6254 SAFETY VALVES

Features

• Heavy duty high quality cast iron construction with stainless steel semi-nozzle, trim and disc.
• Bolted bonnet design for easy maintenance.
• Seats lapped to optical flatness.
• Dual control rings offer easy adjustability forprecision opening with minimum pre-open or simmer and exact blowdown control.
• Heavy duty lift lever assembly.
• All adjustments factory sealed to prevent tampering or disassembly.
• Each valve tested and inspected for pressure setting and leakage.
• Valves available National Board certified to ASME sections I, VIII and IV, and PED certified for non-hazardous gas.

GENERAL APPLICATION

Suitable for use on steam boilers and generators, pressure reducing stations, reciprocating or rotary air/gas compressors and for pressure vessels including tanks, receivers, intercoolers, oil/gas separators and lines.

TECHNICAL DATA

Connections:FNPT or flanged
Sizes:2”, 2½”, 3”
Temperature range:-20° to 406°F (-29° to 208°C)
Pressure range:10 to 250 psig (0.7 to 17.2 barg)
Code:ASME I, IV, VIII and PED

NOTE

1. ASME code valves made from cast iron A126 may not be used in lethal or flammable service.

MODELS OVERVIEW

Model 6252: Cast iron, enclosed spring, SS trim. Codes: ASME I, VIII and PED
Model 6254: As model 6252 except certified for ASME code section IV – low pressure steam heating boilers. Set pressure 15 psig (1.0 barg) only. J through P orifice only. Codes: ASME IV and PED

PARTS AND MATERIALS

MODELS 6252 AND 6254

No.Part NameMaterial
1BodyCast iron, A126 CL A or B
2Semi nozzleSS, SA351 CF8M
3Warn ring locking screwBrass, B16 H02
4Warn ring locking pinSS, A582 TY 416
5GuideBronze, B584 C84400
6Guide locking screwBrass, B16 H02
7Guide locking pinSS, A582 TY 416
8Stem endSS, A582 TY 416
9Spring stepBrass, B16 H02
10Compression screwBrass, B16 H02
11Lever6Iron, A536 65 45 12
12Compression screw lock nutSS, SA479 316 SS
13Lifting disc nutSteel, A108 1018
14CapIron, A536 65 45 12
15Lifting discSS, SA479 316 SS
16Lever pinSteel, A108 1018
17Lever pin washerSteel, A108 1018
18Lever cotter pinSteel, A108 1018
19StemSS, A582 TY 416
20Cap set screwSteel, A108 1018
21BonnetCast iron, A126 CL A or B
22SpringSteel, A229, aluminum coated2
23Bonnet boltSteel, A193-B7/194-7
24DiscSS, SA479 316 SS5
25Warn ringBronze, B584-C844003
26Gag screw4Steel, A108 1018
27Wire sealLead seal, aluminum wire1
28Retainer nutBrass, B16-H02
29O-ringEPDM
30Drainhole⅜” NPT

NOTES

1. Not shown on assembly.
2. SS A313-631 for ‘J’ orifice.
3. Brass B16-H02 for ‘J’ orifice.
4. Applies only to gag option. Gag screw ships with valve, not installed.
5. SS-SA351-C8FM for ‘Q’ and ‘R’ orifice.
6. J and K orifices use 1 piece lever as shown in diagram. All other orifices use 2 piece design, lever and yoke. Yoke material: iron, A536 65 45 12.

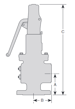
DIMENSIONS MODELS 6252 AND 6254

ConnectionsANSstandard,ininch(mm)Valvedimensionsininch(mm)Approximateweight
Model1OrificeInlet2Outlet3ABClb(kg)
625*AJGJ(38.1) FNPT(63.5) FNPT(108.0)(88.9)18(457.2)40(18.2)
625*FJGJ(38.1) FL(63.5) FNPT(108.0)(88.9)18(457.2)40(18.2)
625*FJHJ2(50.8) FL(63.5) FNPT(108.0)(88.9)18(457.2)42(19.1)
625*FJJJ(63.5) FL(63.5) FNPT(108.0)(88.9)18(457.2)45(20.5)
625*AKHK2(50.8) FNPT3(76.2) FNPT4⅝(117.6)4(101.6)18¼(463.6)43(19.5)
625*FKHK2(50.8) FL3(76.2) FNPT4⅝(117.6)4(101.6)18¼(463.6)52(23.6)
625*FKJK(63.5) FL3(76.2) FNPT4⅝(117.6)4(101.6)18¼(463.6)52(23.6)
625*FKKK3(76.2) FL3(76.2) FNPT4⅝(117.6)4(101.6)18¼(463.6)55(25.0)
625*ALJL(63.5) FNPT4(101.6) FNPT(139.7)413/16(122.2)21½(546.1)74(33.6)
625*FLJL(63.5) FL4(101.6) FNPT(139.7)413/16(122.2)21½(546.1)82(37.3)
625*FLKL3(76.2) FL4(101.6) FNPT(139.7)413/16(122.2)21½(546.1)86(39.1)
625*FLML4(101.6) FL4(101.6) FNPT(139.7)413/16(122.2)21½(546.1)97(44.1)
625*AMKM3(76.2) FNPT4(101.6) FNPT5⅝(142.7)5⅛(130.0)2111/16(550.9)90(40.9)
625*FMKM3(76.2) FL4(101.6) FNPT5⅝(142.7)5⅛(130.0)2111/16(550.9)100(45.5)
625*FMMM4(101.6) FL4(101.6) FNPT5⅝(142.7)5⅛(130.0)2111/16(550.9)107(48.6)
625*KNMN4(101.6) FL6(152.4) FL(171.5)(184.2)22½(571.5)197(89.5)
625*KPMP4(101.6) FL6(152.4) FL(171.5)(184.2)2513/16(655.6)197(89.5)
625*KQPQ6(152.4) FL8(203.2) FL(234.9)10(254.0)39⅛(993.8)493(224.0)
625*KRPR6(152.4) FL8(203.2) FL(234.9)10(254.0)39⅛(993.8)507(230.0)

Dimensions are for reference only.

NOTES

1. Replace asterisk with desired model number.
2. Inlet flanges are ANSI B16. 1-250#.
3. Outlet flanges are ANSI B16. 1-125#.

Capacities for model 6252

NON-CODE1 AND ASME SECTION VIII AIR (SCFM), FLOW COEFFICIENT = 0.878

Orifice,arein2
Set pressureJKLMNPQR
(psig)(1.414)(2.022)(3.138)(3.960)(4.774)(7.018)(12.155)(17.600)
10582833129216311966289050057247
157441064165220842513369463979263
2085812271904240328974258737510679
2597213902157272232814823835412096
30108615522409304036655388933213512
351211173126873391408860091040815070
401336191029653741451066301148416628
451461208932424092493372521256018186
501586226835204442535678731363619744
551711244737984793577884941471221302
601837262640765143620191151578822860
651962280543545494662397371686424418
7020872984463158457046103581793925976
7522123163490961957469109791901527534
8023373342518765467891116002009129092
9025883700574272478736128432224332208
10028384058629879489582140852439535324
110308844166854864910427153282654738440
120333947747409935011272165702869941555
1303589513279651005112117178133085144671
1403839549085201075212962190553300347787
1504090584890761145313808202983515550903
1604340620696311215414653215403730754019
17045906564101871285515498227833945957135
18048416922107431355716343240254161160251
19050917280112981425817188252684376363367
20053417638118541495918034265104591566483
21055927996124091566018879277534806769599
22058428354129651636119724289955021972715
23060928712135201706220569302385237175831
24063439070140761776321414314805452378947
25065939428146311846422260327235667582063

NOTE

1. No code stamp or “NB” on nameplate below 15 psig set.

Capacities for model 6252 – metric units

NON-CODE1 AND ASME SECTION VIII AIR (Nm3/h), FLOW COEFFICIENT = 0.878

Orifice,areacm2
Set pressureJKLMNPQR
(barg)(9.123)(13.045)(20.245)(25.548)(30.800)(45.277)(78.419)(113.548)
1.0110615822455309837355490950913769
1.51433204931794012483771101231517832
2.01696242537644750572684181457921110
2.51982283543995551669298381703924672
3.022723249504263637671112761953028278
3.525623663568571748649127142202031885
4.028514077632879859627141522451135491
4.5314144926971879710605155902700139097
5.0343149067614960811583170282949242703
5.53721532082571042012561184663198246309
6.04010573589001123113539199043447349915
6.54300614995431204214518213423696353521
7.045906563101861285415496227803945457127
7.548796977108281366516474242174194460733
8.051697392114711447617452256554443464340
8.554597806121141528818430270934692567946
9.057498220127571609919408285314941571552
9.560388635134001691120387299695190675158
10.063289049140431772221365314075439678764
10.566189463146861853322343328455688782370
11.069079877153291934523321342835937785976
11.5719710292159722015624299357216186889582
12.0748710706166152096725277371596435893188
12.5777711120172582177926256385976684996795
13.08066115351790122590272344003569339100401
13.58356119491854423402282124147371830104007
14.08646123631918724213291904291174320107613
14.58935127781983025024301684434976811111219
15.09225131922047325836311464578679301114825
15.59515136062111626647321244722481792118431
16.09805140202175927458331034866284282122037
17.210500150152330229406354505211390259130692

NOTE

1. No code stamp or “NB” on nameplate below 1.1 barg set.

Capacities for model 6252

NON-CODE1 AND ASME SECTION VIII STEAM (lb/hr), STEAM COEFFICIENT = 0.878

Orifice,arein2
Set pressureJKLMNPQR
(psig)(1.414)(2.022)(3.138)(3.960)(4.774)(7.018)(12.155)(17.600)
101775253839384970599188071525422087
1520912990464058557059103771797226023
2024103447534967518138119632072030002
2527303904605976469217135502346833981
30305043616768854110297151372621737961
35340148647549952611484168822923942338
403753536783291051112671186273226246715
454105587091091149613859203733528551092
504456637398901248015046221183830855469
5548086875106701346516233238634133159846
6051607378114511445017420256094435464223
6555117881122311543518608273544737768600
7058638384130111642019795290995039972977
7562158887137921740520982308455342277354
8065669390145721838922169325905644581731
90727010395161332035924544360816249190485
100797311401176942232926918395716853799239
1108676124071925524298292934306274582107993
1209380134132081526268316684655380628116747
13010083144182237628238340425004386674125501
14010786154242393730207364175353492720134255
15011489164302549832177387915702598765143009
160121931743527059341474116660515104811151763
170128961844128619361164354064006110857160517
180135991944730180380864591567497116903169271
190143032045331741400564828970987122948178025
200150062145833302420255066474478128994186779
210157092246434863439955303877969135040195533
220164132347036423459655541381459141086204287
230171162447537984479345778784950147131213041
240178192548139545499046016288441153177221795
250185232648741106518736253691931159223230549

NOTE

1. No code stamp or “NB” on nameplate below 15 psig set.

Capacities for model 6252 – metric units

NON-CODE1 AND ASME SECTION VIII STEAM (kg/h), STEAM COEFFICIENT = 0.878

Orifice,areacm2
Set pressureJKLMNPQR
(barg)(9.123)(13.045)(20.245)(25.548)(30.800)(45.277)(78.419)(113.548)
1.094413502095264431874685811511750
1.5114416352538320338615676983114235
2.01354193630053792457167201163816852
2.51582226335124431534278541360219696
3.01814259340255079612390011559022574
3.520452924453857276904101491757825453
4.022763255505163757685112971956728332
4.525083586556570228466124452155531210
5.027393916607876709247135932354334089
5.5297042476591831810028147412553136961
6.0320145787104896510808158892751939846
6.5343349097618961311589170372950742725
7.03664523981311026112370181853149545604
7.53895557086441090913151193323348348483
8.04127590191571155613932204803547151361
8.54358623196711220414713216283745954240
9.045896562101841285215493227763944857119
9.548206893106971349916274239244143659997
10.050527224112111414717055250724342462876
10.552837554117241479517836262204541265755
11.055147885122371544318617273684740068633
11.557468216127501609019398285154938871512
12.059778546132641673820179296635137674391
12.562088877137771738620959308115336477270
13.064399208142901803321740319595535280148
13.566719539148031868122521331075734183027
14.069029869153171932923302342555932985906
14.5713310200158301997624083354036131788784
15.0736510531163432062424864365516330591663
15.5759610862168562127225644376996529394542
16.0782711192173702192026425388466728197420
17.28382119861860123474282994160172052104329

NOTE

1. No code stamp or “NB” on nameplate below 1.1 barg set.

Capacities for model 6252

NON-CODE AND ASME SECTION I STEAM (lb/hr), STEAM COEFFICIENT = 0.878

Orifice,arein2
Set pressureJKLMNPQR
(psig)(1.414)(2.022)(3.138)(3.960)(4.774)(7.018)(12.155)(17.600)
1520272898449856766843100591742325227
2023463355520765717922116462017129207
2526663813591774679002132332291933186
30298642706626836210081148192566737165
35330647277336925711160164062841541144
403625518480451015312240179933116345123
453945564187551104813319195793391149102
504265609894641194314398211663665953081
5545846555101741283915478227533940757060
6049047013108831373416557243394215561039
6552247470115921462917636259264490365018
7055507936123161554218737275444770669077
7558798407130471646519849291795053773176
8062088878137781738720961308135336777274
9068679819152391923123184340825902885471
100752510761167012107525407373506468993668
1108184117031816222920276314061970350101865
1208842126451962424764298544388776011110062
1309501135862108526608320784715681672118259
14010160145282254628453343015042487333126456
15010818154702400830297365255369392994134653
16011477164112546932141387485696198655142850
170121351735326931339854097160230104316151046
180127941829528392358304319563498109977159243
190134521923729854376744541866767115638167440
200141112017831315395184764270035121300175637
210147692112032777413634986573304126961183834
220154282206234238432075208876572132622192031
230160872300335700450515431279841138283200228
240167452394537161468965653583109143944208425
250174042488738623487405875986378149605216622

NOTE

1. No code stamp or “NB” on nameplate below 15 psig set.

Capacities for model 6252 – metric units

NON-CODE AND ASME SECTION I STEAM (kg/h), STEAM COEFFICIENT = 0.878

Orifice,areacm2
Set pressureJKLMNPQR
(barg)(9.123)(13.045)(20.245)(25.548)(30.800)(45.277)(78.419)(113.548)
1.090412932007253330544489777511257
1.5111515942474312237635532958213874
2.01325189529403711447365761138916491
2.51535219534074299518376191319719108
3.01745249638744888589386631500421725
3.51956279743405477660397061681124342
4.021663097480760667313107501861926959
4.523763398527366558023117942042629576
5.025923706575172588750128632227832257
5.528084016623278649481139372413934953
6.0302543256712847110212150122600137648
6.5324146357193907710943160872786240344
7.0345849457674968411674171622972443039
7.53674525481541029012406182373158645735
8.03891556486351089713137193123344748430
8.54107587491151150313868203863530951126
9.04324618395961211014599214613717053821
9.545416493100771271615330225363903256517
10.047576803105571332316061236114089359212
10.549747112110381392916792246864275561908
11.051907422115181453617524257614461764603
11.554077732119991514218255268354647867299
12.056238041124801574918986279104834069994
12.558408351129601635519717289855020172690
13.060578661134411696220448300605206375385
13.562738970139211756821179311355392578081
14.064909280144021817521911322105578680776
14.567069590148831878122642332845764883472
15.069239899153631938823373343595950986167
15.5713910209158441999424104354346137188863
16.0735610519163242060124835365096323391558
16.5757210828168052120725566375846509494254
17.0778911138172862181426298386596695696949
17.2787611262174782205626590390896770098028
Orifice,areain2(cm2)
Set pressureJKLMNP
psig1.4142.0223.1383.9604.7747.018
(barg)(9.123)(13.045)(20.245)(25.548)(30.800)(45.277)
152217317149216210748611005
(1.0)(1004)(1436)(2229)(2813)(3391)(4985)

SELECTION GUIDE

Example:6252FLK01-AS0020
Model

6252

6254
Connection type

A       FNPT x FNPT

F       250# flange x FNPT

K       250# flange x 125# flange
Orifice

J        N

K        P

L        Q

M        R
Inlet size G        1½” (38.1)
H        2” (50.8)
J        2½” (63.5)
K       3” (76.2)
M       4” (101.6)
P       6” (152.4)
Variation (01 to 99) 01        Plain lever
02        Plain lever with gag
Design revision
Indicates non-interchangeable revision
Dash (-) if original design
Valve service
A       Steam ASME section I (model 6252 only)
G       Steam ASME section IV model 6254 only (model 6254 only - 15 psig/1.0 barg)
K       Air ASME Section VIII (model 6252 only)
L       Steam ASME section VIII (model 6252 only)
N       Non-code air/gas
P       Non-code steam
Spring material
S       Steel (plated)
Set pressure
Model 6252       10 psig [0.34 barg] (0010) to 250 psig [17.2 barg] (0250)
Model 6254       15 psig [1.0 barg] (0015)
WordPress Themes