610-497-2600

MODEL 930 SAFETY VALVES

Features

• Extra high capacity for industrial, commercial and residential low pressure steam heating boilers.
• Cast iron body with bronze nozzle, disc and guide.
• Large seat area/guide area ratio and disc pivot design ensures optimum performance.
• Seats are lapped for optimum performance.
• Reversible lift lever for ‘pull-up’ or ‘pull-down’ manual testing.
• All adjustments factory sealed to prevent tampering or disassembly.
• Tested and inspected for pressure setting and leakage.

GENERAL APPLICATION

Model 930 is suitable for use on low pressure steam heating boilers to ASMe code section IV at 15 psig set pressure.

TECHNICAL DATA

Connections:Threaded NPT
Sizes:2”, 2½”, 3”
Temperature range:250°F (121°C)
Pressure range:15 psig (1 barg) only
Code:ASME IV

PARTS AND MATERIALS

No.Part NameMaterials
1Set screwSS
2NozzleBRZ B584-C84400 or BRS B283-C48500
3DiscBRZ B584-C84400
4BodyCast Iron, A126 class A or B1
5Step springBrass B16
6Snap ringSS, A151
7Wire and sealSS wire and lead seal
8SpringSteel, A231 aluminum coated
9[3]Compression screw guideBRZ B584-C84400
10LeverSteel
11Lift washerBrass, B16
12StemSS, A582-303
13[2]Gag bracketAluminum, SB211-6061-T6/anodized
14[2]Threaded knobPhenolic/stl, A108-1018 ZN Pl
15[2]WasherStl, A108-1018 ZN P
16[2]Retaining washerNylon

NOTES

1. Finish heat resistant gray primer paint.
2. Gag assembly ships with valve, not installed. Applies only to gag option.
3. Modified with 2 threaded holes for gag assembly. applies only to gag option.

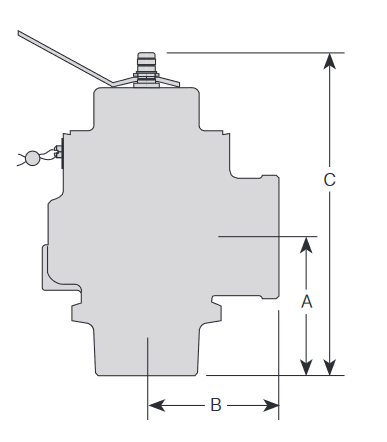
SPECIFICATIONS[1]

ValveDimensions (in)WeightOrifice areaCapacity
size[2]ABClbin2lb/h
2”3⅛382.163164
2½”123.084501
3”4194.756949

NOTES

Dimensions are for reference only.
1. ASME section IV steam (U.S., lb/h): set pressure = 15 psig, flow coefficient = 0.818
2. Inlet and outlet are the same size.

SELECTION GUIDE

Example:0930-H01-GC0015
Model

0930
Inlet size

H       2"

J       2½"

K       3"
Variation

01       Catalog standard

02       With gag

WordPress Themes