
| Connections: | FNPT |
| Temperature range: | -20° to 250°F (-29° to 121°C) |
| Pressure range: | 15 to 160 psig (1.0 to 11 barg) |
| Code: | ASME IV![]() |
| No. | Part Name | Materials |
| 1 | Body | [1] |
| 2 | Seat o-ring | NBR[2] |
| 3 | Seat | Bronze, B584 alloy 84400[2] |
| 4 | Disc holder Insert Diaphragm Guide Lock nut | Brass, B16[3] Ethylene propylene (EPDM) NBr/nylon Brass, B36 alloy C26000[4] Brass, B16 |
| 5 | Screw | SS |
| 6 | Spring | SS, A313-631 |
| 7 | Bonnet | [1] |
| 8 | Spring step | Brass, B16 |
| 9 | Compression screw | Brass, B16 |
| 10 | Lever | Steel, zinc plated |
| 11 | Seal and wire | Lead seal and SS wire |
| 12 | Lift washer nut | SS |
| 13 | Lift washer | SS |
| 14 | Stem Spring pin Disc locknut | SS, A479-316 SS Brass |

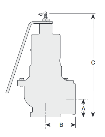
| Size | Dimensions (in) | Weight | |||
| Inlet | Outlet | A | B | C | (lb) |
| ¾” | 1” | 15/16 | 1⅞ | 6⅛ | 2 |
| 1” | 1¼” | 1 5/16 | 2⅜ | 7⅛ | 5 |
| 1½” | 2” | 1¾ | 25/16 | 10⅛ | 12 |
| 2” | 2½” | 2⅛ | 39/16 | 11¾ | 22 |

| Orifice | area, | in2 | ||||||||||
| ¾” | 1” | 1½” | 2” | |||||||||
| Set pressure | (0.533 in2) | (0.833 in2) | (1.767 in2 | (3.142in2 | ||||||||
| (psig) | lb/h | BTU/h | lb/h | BTU/h | lb/h | BTU/h | lb/h | BTU/h | ||||
| 15 | 690 | 690278 | 1079 | 1078802 | 2288 | 2288408 | 4069 | 4069144 | ||||
| 20 | 812 | 811962 | 1269 | 1268976 | 2692 | 2691813 | 4786 | 4786461 | ||||
| 30 | 1055 | 1055329 | 1649 | 1649323 | 3499 | 3498623 | 6221 | 6221095 | ||||
| 40 | 1299 | 1298696 | 2030 | 2029670 | 4305 | 4305434 | 7656 | 7655729 | ||||
| 50 | 1542 | 1542064 | 2410 | 2410017 | 5112 | 5112244 | 9090 | 9090363 | ||||
| 60 | 1785 | 1785431 | 2790 | 2790364 | 5919 | 5919055 | 10525 | 10524997 | ||||
| 70 | 2029 | 2028798 | 3171 | 3170711 | 6726 | 6725865 | 11960 | 11959631 | ||||
| 80 | 2275 | 2272165 | 3551 | 3551058 | 7533 | 7532676 | 13394 | 13394265 | ||||
| 90 | 2516 | 2515533 | 3931 | 3931405 | 8339 | 8339486 | 14829 | 14828899 | ||||
| 100 | 2759 | 2758900 | 4312 | 4311752 | 9146 | 9146296 | 16264 | 16263533 | ||||
| 110 | 3002 | 3002267 | 4692 | 4692098 | 9953 | 9953107 | 17698 | 17698167 | ||||
| 120 | 3246 | 3245634 | 5072 | 5072445 | 10760 | 10759917 | 19133 | 19132801 | ||||
| 125 | 3367 | 3367318 | 5263 | 5262619 | 11163 | 11163323 | 19850 | 19850119 | ||||
| 130 | 3489 | 3489002 | 5453 | 5452792 | 11567 | 11566728 | 20567 | 20567436 | ||||
| 140 | 3732 | 3732369 | 5833 | 5833139 | 12374 | 12373538 | 22002 | 22002070 | ||||
| 150 | 3976 | 3975736 | 6213 | 6213486 | 13180 | 13180349 | 23437 | 23436704 | ||||
| 160 | 4219 | 4219103 | 6594 | 6593833 | 13987 | 13987159 | 24871 | 24871338 |
| Example: | 0537 | - | D | 01 | - | H | M | 0160 |
| Model 0537 | ||||||||
| Connection size D ¾" inlet x 1” outlet E 1" inlet x 1¼” outlet G 1½" inlet x 2” outlet H2" inlet x 2½” outlet | ||||||||
| Variation 01 Catalog standard | ||||||||
| Design revision Indicates non-interchangeable revision - Original design (connection sizes E, G and H) A Revision A (connection size D) | ||||||||
| Service H Steam ASME section IV - hot water | ||||||||
| Spring material M SST | ||||||||
| Set pressure 0015 15 psig 0160 160 psig |